双11黑榜

来源:燃财经 | 2019-11-12 15:57 | 作者:唐亚华 苏琦

  — 双11黑榜 —

  • 凌晨1点才能付尾款、不能凑单用津贴的预售模式承担了今年双11吐槽最猛的火药;

  • 羊毛党在今年双11前夕薅垮了一家脐橙店,但始作俑者已被封号,还遭到网友人肉;

  • 二选一继续发酵,但对于一些中小品牌来说,但凡有方法两全,就不会二选一;

  • 这个双11最受伤的是电子烟,监管新规切断了电子烟的线上渠道,也让那些准备在双11大干一场的电子烟品牌倒在了预售前。

  津贴不能用、一点付尾款双11吐槽大会

  忙活了十多天的愿望清单、盖楼、淘礼金、组团、喵币、双11合伙人、签到瓜分20亿,再加上看直播、逛店铺做任务、邀请好友参与,领券、加购、付定金,经历了双11零点秒杀、凑单、付尾款手忙脚乱的一晚,广大网友正式迎来了“有钱双11,没钱星期一”,不少人自嘲“千手观音”变成了“断臂维纳斯”。 成交量创了新高,但双11一早,“津贴没用上”、“为什么一点才能付尾款”、“不买立省100%”等话题也登上微博热搜。 相信大多数人的状态是这样的:早早就选好了东西,算好了满减拼单,11号0点一过,全选结算一看,却发现有的商品不支持满400减50,等耐心把符合条件的物品一一勾选后,才发现凑不够满减门槛,急吼吼的又去临时找东西凑单。 有的人明明凑好了单,却硬生生被系统拆成多个订单,导致津贴没用上。最让人生气的是,预售的商品要等到凌晨1点以后才能付尾款,而等到凌晨1点,不少秒杀款早已没货,所以预售商品大概率不能和需要拼手速的商品一起凑单满减。 还有的人拍错了打算取消重新拍,结果发现系统设置12日0点以后才能退款,熬夜付款的很多人,恐怕还要经历熬夜退款。 不少人感慨,“一顿操作猛如虎,最后便宜两块五”,走过最远的路,依然是商家的套路。

  商家们又怕又恨的羊毛党,这次栽了

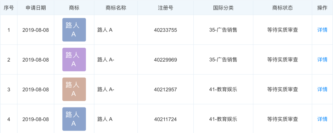
  长期网购的人或多或少都被拉入过羊毛群或者白菜群,但今年双11,就有一位羊毛党栽了跟头。 11月9日,天猫、淘宝官方发布消息,近期,果小云旗舰店因操作失误,把26元4500克的脐橙,设为了4500斤。消息传开后,店铺损失严重。而传播这一消息的,是B站一位UP主“路人A-”,他在直播时号召粉丝去“薅羊毛”,又在商家无法发货的情况下投诉“商家虚假宣传”,导致该店铺关店。 随后B站也发出回应,称已封禁这位用户的账号,直到其妥善处理本次事件。 据天眼查信息显示,“路人A-”背后是安徽省和万贸易有限公司,注册资金500万,成立于2017年。该公司旗下申请了4个和“路人A”相关的商标。

  一位B站用户称,“路人A-”在薅羊毛上已经轻车熟路,带着粉丝“撑死胆大的、饿死胆小的”。有一次,皮鞋品牌“意尔康”的工作人员不小心将价格设置成3折,加上优惠券一双鞋子只要二三十元。“路人A-”知道意尔康不可能发货,一单购买了五千多元,然后直接投诉,一单赚取500元投诉金,再进行退款,手法与这一次如出一辙。 一位商家告诉燃财经,他的店铺2014年也被羊毛党坑惨了。那是他们参加双11的第二年,经验不足,运营人员设错了优惠券。本来是无门槛的50元优惠券抽奖活动,每人限领一张。后来设计时出了bug,只要转发给别人,就能重复领券。 这一漏洞被白菜群的人发现,一晚上发出去1万多张,损失超过500万,“想死的心都有”。 近日,“路人A-”发布道歉声明,并称自己的电话、住址、学校等信息已被曝光,很多人寄丧葬物品到他的住址,自己电话已经不敢开机,人也不敢回家了。

  早已不是秘密的“二选一”商家其实不想选

  在双11大战大幕拉开前,一则消息再一次在电商圈炸开了锅。 据媒体报道,早在今年9月12日,京东向北京高院提出申请,请求通知唯品会、拼多多作为第三人参加天猫滥用市场支配地位的诉讼;9月26日,唯品会及拼多多向北京高院递交申请,请求以第三人身份加入诉讼。 此次消息流出也意味着,这三大电商将联手就二选一一案“围攻”天猫。 有商家向燃财经透露,2选1的情况在电商界属于都市传说——谁都听过,但谁也不会拿出真正的证据。反正平台的流量是自己的,怎么分配是它们自己的事。而原本是阿里、京东的战局,现在也有了唯品会、拼多多的加入。 “我不知道别人怎么选,但是拼多多有一点比较好,就是它会把自己的姿态放得特别低,会给你想很多方法,比如把店铺名改成专卖店,或者干脆把店铺隐藏掉,让你搜起来看不到店铺。”上述商家告诉燃财经。 一位品牌的电商负责人则认为,对于一些中小品牌来说,但凡有方法两全,并且在两个平台都有利润,就不会二选一。“说到底,做生意还是为了赚钱,在各平台做好不同的SKU和主推的产品就好了。” 相信这次审判的结果,也将对电商行业未来的发展造成极大的影响。其实不论是商家还是平台,他们自己也想得到一个明确的答案——到底什么才算“一家独大”。

  电子烟商家梦碎双11

  这个双11,受伤最深的是电子烟。 11月1日,国家市场监督管理总局和国家烟草专卖局联合发布《关于进一步保护未成年人免受电子烟侵害的通告》,表示要防止未成年人通过互联网购买并吸食电子烟,进一步保护未成年人免受电子烟侵害。 新规试图彻底切断电子烟的网络售卖渠道,也直接让那些准备在双11大干一场的电子烟品牌倒在了预售前。 11月5日晚间,重点地区烟草专卖监管部门与相关执法部门联合约谈主要电商平台,随后京东屏蔽了“电子烟”和部分电子烟品牌的关键词,并在第二天全面下架了所有电子烟店铺和产品。 6日晚间,悦刻、唯它等电子烟品牌先后主动下架天猫旗舰店。7日凌晨,淘宝、天猫、闲鱼以及拼多多等平台也屏蔽了“电子烟”关键词。 截至双11当天,电子烟产品已被阿里、京东、拼多多、苏宁易购、国美、唯品会、小红书、当当、一号店等10家电商平台下架。 但燃财经搜索发现,在微博上仍有一些电子烟的营销活动信息,抖音、快手上也存在电子烟相关的信息。 随着电子烟线上一刀切,头部效应缩小,电子烟厂家开始发力线下。有的品牌乘着下架前最后一波建立私域流量,有的品牌将线上预算调到线下布局渠道、瓜分蛋糕,有的厂家不得已裁员求生。 原本在双11预热期间,品牌还寄希望于这次双11清理库存。然而这一次他们不光散不了货,投出去的营销广告费用也将血本无归。转机变危机,电子烟商家梦碎双11。


【声明】物流产品网转载本文目的在于传递信息,并不代表赞同其观点或对真实性负责,物流产品网倡导尊重与保护知识产权。如发现文章存在版权问题,烦请联系小编电话:010-82387008,我们将及时进行处理。

10秒快速发布需求

让物流专家来找您